会员余额
功能概述
会员余额页面用于展示和管理所有会员的余额信息,包括总余额统计、余额变动记录查询以及详细的余额变动明细查看,帮助商家实时掌握会员资金动态和进行资金管理。
主界面介绍
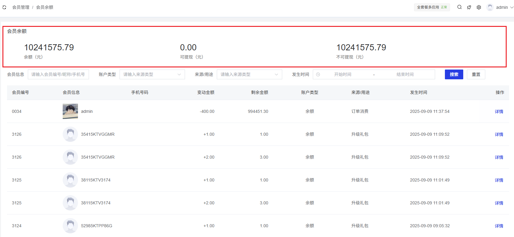
余额统计区域
位于页面顶部,展示关键余额数据: 
余额(元):显示所有会员的总余额。
可提现(元):显示所有会员可提现的余额总额。
不可提现(元):显示所有会员不可提现的余额总额。
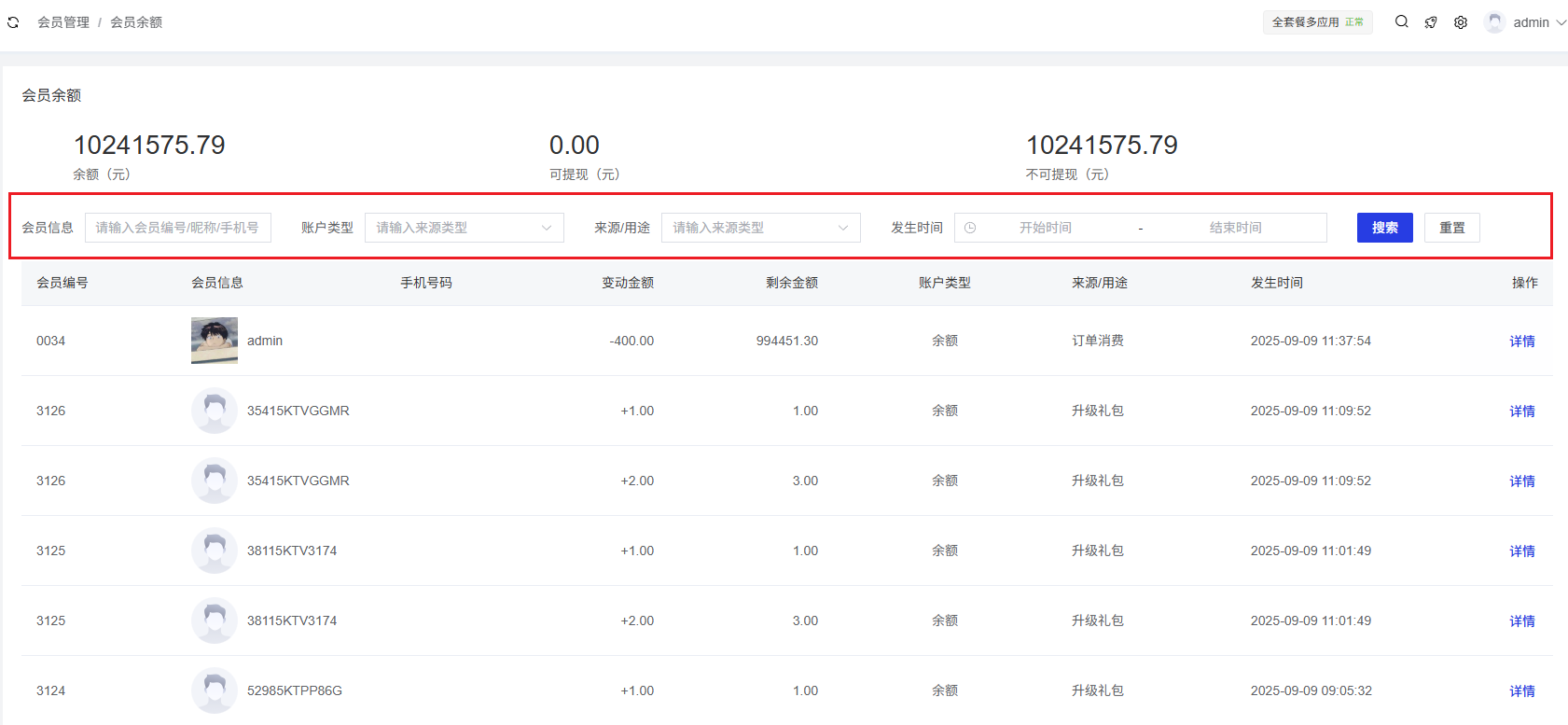
搜索和筛选区域
提供多种筛选条件,方便快速查找特定的余额变动记录: 
会员信息:通过会员编号或手机号码搜索特定会员的余额记录。
账户类型:通过下拉菜单选择账户类型进行筛选。
来源用途:通过下拉菜单选择资金来源或用途进行筛选。
发生时间:通过日期选择器设置时间范围进行筛选。
搜索按钮:点击后执行搜索操作。
重置按钮:清空所有搜索条件并重置筛选。
余额变动列表
以表格形式展示会员余额变动的详细记录,包含以下列: 
会员编号:显示会员的唯一编号。
会员信息:显示会员头像和昵称。
手机号码:显示会员的手机号码。
变动金额:显示余额变动的金额(正数表示增加,负数表示减少)。
剩余金额:显示变动后的剩余余额。
账户类型:显示账户类型,如余额。
来源/用途:显示资金变动的来源或用途,如订单消费、升级礼包等。
发生时间:显示余额变动的具体时间。
操作:包含"详情"按钮,点击后可查看该笔余额变动的详细信息。
余额变动详情
操作入口
在余额变动列表中,点击对应记录的"详情"按钮。
弹窗界面
打开余额变动详情弹窗,展示该笔余额变动的完整信息: 
会员头像:显示会员的头像。
会员编号:显示会员的唯一编号。
会员昵称:显示会员的昵称。
手机号码:显示会员的手机号码。
变动金额:显示该笔余额变动的具体金额(带正负号)。
来源/用途:显示该笔资金变动的来源或用途,如订单消费、升级礼包等。
备注:显示该笔变动的备注信息。
发生时间:显示该笔余额变动的具体时间。
确定按钮:点击后关闭详情弹窗。
